DEFENSAS MARINAS
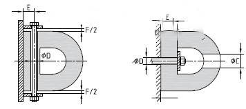
EDILRESINE CONSULTMAR-FENDER: Somos proveedores y asesores en el sector marítimo de puertos y muelles. Nuestros sistemas de Defensas Fijas, Defensas Flotantes, Defensas con Paneles deslizantes (Pantallas UHMW-PE) y accesorios como Luces, Bitas – Bolardos, Ganchos de Escape, Botazos, Cadenas, entre otros son parte integral de toda instalación portuaria, diques, muelles, canales, etc. Es importante un diseño adecuado de estas instalaciones para proteger las mismas, así como a las naves. Básicamente las defensas fijas consisten de soportes de jebe fijas al muelle, con paneles frontales de material marino plástico, conocido como UHMW-PE, cuya combinación hace una amortiguación adecuada. Los hay de diversos tamaños y resistencias. Servicios Portuarios









Defensas para Proa, Popa y Bandas de remolcadores y otras embarcaciones. Bitas, cornamuzas, y todo tipo de accesorios de amarre para muelles.




Somos proveedores y asesores en el sector marítimo de puertos y muelles.












Defensas Marinas Puertos y Muelles
Sistemas de Defensas Fijas y otros accesorios para muelles. Fabricación Defensas para Proa, Popa y Bandas de remolcadores. Bitas, cor namusas, y todo tipo de accesorios de amarre.
Equipos Para Puertos
Sistemas de Defensas Fijas y otros accesorios para muelles:Sistemas para alerta de Tsunamis CERTIFICADOS. Bitas, cornamuzas, y todo tipo de accesorios de amarre para muelles, AMARRAS DE YUTE, Bolardos, Anclajes, Luces y MONITORES SISTEMAS ALARMAS TSUNAMI
Servicios Portuarios
Servicios Marítimos, ASESORÍA INSPECCIÓN TÉCNICA, (Obras Marítimas - Obras Civiles-Dragados). Puertos y Muelles.
SAFI Work Platforms Solution
53 años dando soluciones a medida en la construcción y la industria. Sistemas SAFI fabrica plataformas de trabajo y elevación para personas, materiales.
L&S EDILRESINE LTDA
Web: www.edilresine.cl
Cel: +56 9 9576 1857. E-mail: contacto@edilresine.cl